Pouzdro na mobilní telefon používáme skoro všichni a už dávno nemá funkci jen na ochranu telefonu. Může posloužit také jako stojánek, dodá funkci pro připojení magnetické nabíječky nebo disponuje praktickými kapsami na drobnosti. Patent Applu, na který upozornil server Apple Insider (appleinsider.com), však posová přidané funkce na vyšší úroveň. Pokud se takové pouzdro podaří vyrobit, pak by mohlo poskytnout vloženému iPhonu plnou satelitní konektivitu.
V současné době tyto telefony nabízejí satelitní (SOS) zprávy. Dojde tedy k přenosu jen malého množství dat, které je navíc zpožděné o hledání správné pozice telefonu vůči satelitu. A není divu, ten je vzdálen asi 1300 kilometrů, takže přenos jakýchkoli dat při tak malém výkonu je náročná disciplína. I z toho důvodu jsou satelitní telefony snadno rozpoznatelné podle masivní antény. Podobné služby nabízí například i americký T-Mobile ve spolupráci se Starlinkem a i když se už delší dobu spekuluje o tom, že by tato satelitní síť mohla poskytnout konektivitu prakticky libovolnému telefonu s LTE, funkce je stále ve fázi testování.
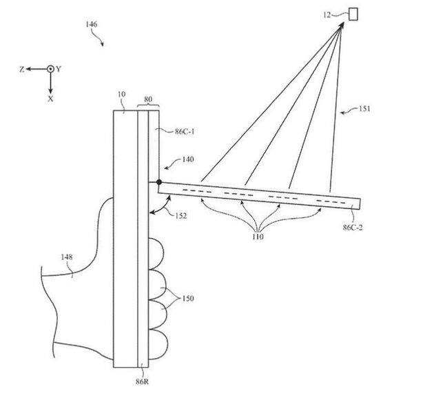
Pro případ, že by to nevyšlo, plánuje Apple záložní řešení, které možná nebude tak elegantní, ale o to více funkční. Pouzdro bude určeno pro iPhony, ale zřejmě i pro iPady. Jak můžete vidět na obrázku, pouzdro bude mít část, kterou lze odklopit, aby anténa směřovala k obloze a zajistila tak lepší satelitní signál. Tím se také zajistí, že ruka na telefonu nebude blokovat satelitní signál, protože se nedotýkáte samotné odklápěcí části, ve které jsou antény umístěny. Pouzdro by fungovalo jako běžné pouzdro, které si uživatel může nainstalovat a odstranit. Ve své patentové přihlášce Apple spekuluje, že by mohlo přenášet bezdrátová data pomocí odnímatelného pouzdra přes rádiový konektor“ nebo různé jiné možnosti, jako je NFC.
Problém jako u jiných patentů je, že to v žádném případě nenaznačuje, že se Apple touto cestou v budoucnu vydá, ale spíše jen chce být připraven na to, že by to mohla být jedna z variant vývoje. Faktem je, že satelitní konektivita je jedno z velkých témat výzkumu a vývoje v oblasti mobilních telefonů, takže se dříve nebo později skutečně můžeme těšit na to, že se s mobilem připojíme kdekoli, kde je výhled na oblohu. Jestli k tomu budeme potřebovat takové pouzdro, však není jisté.
