Aktualizováno 5. 11. 2025
Chystaný Samsung Galaxy TriFold (název je nadále neoficiální) prošel poměrně klíčovou certifikací Bluetooth SIG (viz diztel.com), což by mohlo naznačovat skutečně brzké oficiální představení. Mnohem zajímavější však je, kolik variant Samsung nechal certifikovat. Konkrétně jde o kódová označení SM-D6390, SM-D639N, SM-D639U, SM-D639U1 a SM-D639B. Na první pohled se zdá, že se dočká hned několik trhů, přičemž varianta s písmenem B je obecně považována za globální. Ani to nám však nedává žádnou konkrétní informaci, jestli bude Galaxy TriFold dostupný na 5 nebo 50 trzích. Díky certifikaci však není vyloučeno, že se očekávaný mobil podívá na spíše více trhů.
Aktualizováno 4. 11. 2025
Samsung již na veletrhu K-Tech Showcase 2025 ukázal svůj první dvakrát skládaný telefon, kterému se přezdívá Galaxy TriFold, nicméně oficiální název stále nebyl oznámen. Nově však díky YouTube kanálu SBS News (viz youtube.com) můžeme vidět telefon z více různých stran. Za pozornost stojí dva panty, každý na jedné straně zařízení.




Po rozložení má mobil displej s úhlopříčkou 10" a zaujme i velmi malou tloušťkou. Sekundární displej zůstane po rozložení na zádech, kde je sestava tří fotoaparátů nápadně připomínající tu, kterou můžete vidět na Galaxy Z Foldu7.
Aktualizováno 28. 10. 2025
Dnešní den by mohl být v historii Samsungu považován za velmi důležitý. Vůbec poprvé byl ukázán první dvakrát skládaný model nadále označovaný jako Galaxy TriFold. Zda půjde o oficiální název, není potvrzeno. Každopádně zařízení je k vidění na výstavě před summitem APEC 2025. Je však bezpečně schováno za sklem a spatřit lze pouze zcela složený tvar s 6,5" displejem a následně zcela rozložený model s 10" panelem. Snímky zveřejnil na síti X uživatel BIswatma (viz x.com).
— BIswatma (@thebiswatma) October 28, 2025
Svou troškou do mlýna přispěl také známý informátor Ice Universe (viz x.com), který zveřejnil detailní obrázky.
Aktualizováno 10. 10. 2025
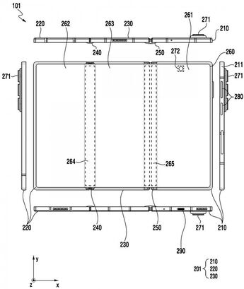
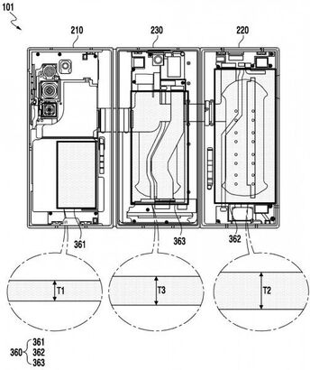
Dvakrát skládaný Samsung Galaxy TriFold (název je nadále nejistý) by se měl představit možná už koncem října. Skrze patentové dokumenty zveřejněné server Kripsis (viz kipris.or.kr) bylo odhaleno, že se v zařízení budou nacházet hned tři baterie. Každá bude minimálně rozměrově odlišná. Nejmenší baterie označená v patentech jako T1 bude v díle, kde se nachází hlavní fotoaparáty. Druhá největší baterie (T3) najde místo v části, ve které bude umístěn venkovní displej. Největší baterie s označením T2 se pak bude nacházet v díle, který se po kompletním složení dostane mezi dvě zbylé části.



Aktualizováno 29. 9. 2025
Příchod dvojitě skládaného Samsungu Galaxy TriFold (název je nadále pouze pracovní) je zřejmě na spadnutí. Profil TechHighest na sociální síti X totiž zveřejnil sérii videí (viz x.com), zachycující animační tutoriály prostředí modelu s víckrát skládaným displejem.
Hello again multifold 👋
— Highest (@TechHighest) September 26, 2025
We've got a bunch videos for you...
1/5🧵
With the help of @evowizz pic.twitter.com/GUhI8HPx5g
Spatřit tak můžeme různé formy využití malého a velkého displeje, kdy nebude problém pokračovat v rozdělané práci z malého displeje i na displeji vnitřním po kompletním rozložení. Dojde na plovoucí okna či možnost si na velkém displeji vše přehledně uspořádat. Samozřejmostí bude i režim DeX, který poslouží i jako další, zpravidla větší obrazovka. Za pozornost stojí i fakt, že Samsung Galaxy TriFold bude vybaven zřejmě špičkovou sestavou fotoaparátů. Naznačuje to přítomnost 100násobného hybridního zoomu.
100x? 👀 pic.twitter.com/vkjsHLauQn
— Highest (@TechHighest) September 26, 2025
Informace z Android Central (viz androidcentral.com) naznačují, že by se toto zajímavé zařízení mohlo během podzimu oficiálně představit, avšak do prodeje půjde ve značně omezeném režimu. Tentokrát se sice nadále hovoří o dvou trzích, ale jde o Jižní Koreu a USA.
Hello again multifold 👋
— Highest (@TechHighest) September 26, 2025
We've got a bunch videos for you...
1/5🧵
With the help of @evowizz pic.twitter.com/GUhI8HPx5g
Původní informace ze 3. 9. 2025
Samsung patří mezi přední výrobce zařízeních s ohebným displejem. V nabídce však nemá žádný dvakrát skládaný kousek, oproti tomu Huawei ano, a to již rok. Jihokorejský výrobce by však dle dostupných informací měl mít odpověď v rukávu a pouze čeká na vhodný moment k představení. Chystané zařízení by mohlo nést název Galaxy G Fold, případně Galaxy Z TriFold.
Nejnovější informace od ET News (viz etnews.com) naznačují, že by se přelomový Samsung Galaxy G Fold mohl představit ještě během září, konkrétně na jeho závěru v rámci speciální akce Galaxy Unpacked. Samsung by tak ukázal, že v segmentu ohebných zařízení chce nadále patřit mezi přední výrobce.
Pokud se však už těšíte na moderní a dvakrát ohebný Samsung, budete zřejmě zklamáni. Má se totiž jednat v podstatě o limitovanou edici. Hovoří se o výrobě pouhých 50 tisíc kusů, což je dokonce čtyřikrát méně, než se předpokládalo. Z tohoto důvodu se případný Galaxy G Fold má nabízet jen na dvou trzích, a to v Jižní Koreji a Číně.
Samsung má tímto krokem provést pomyslný veřejný test zájmu a odezvy ze stran uživatelů na prvních dvou trzích. Současně údajně nechce, aby novinka odváděla pozornost od současného Galaxy Z Foldu7, který přeci jen přinesl zásadní změny a Samsung nechce, aby byl zastíněn stájovým konkurentem.

zachycující animační tuotirály 🫣
Ach jo.
Až za měsíc a v prodeji až v Listopadu.