Obrázek 1 / 10

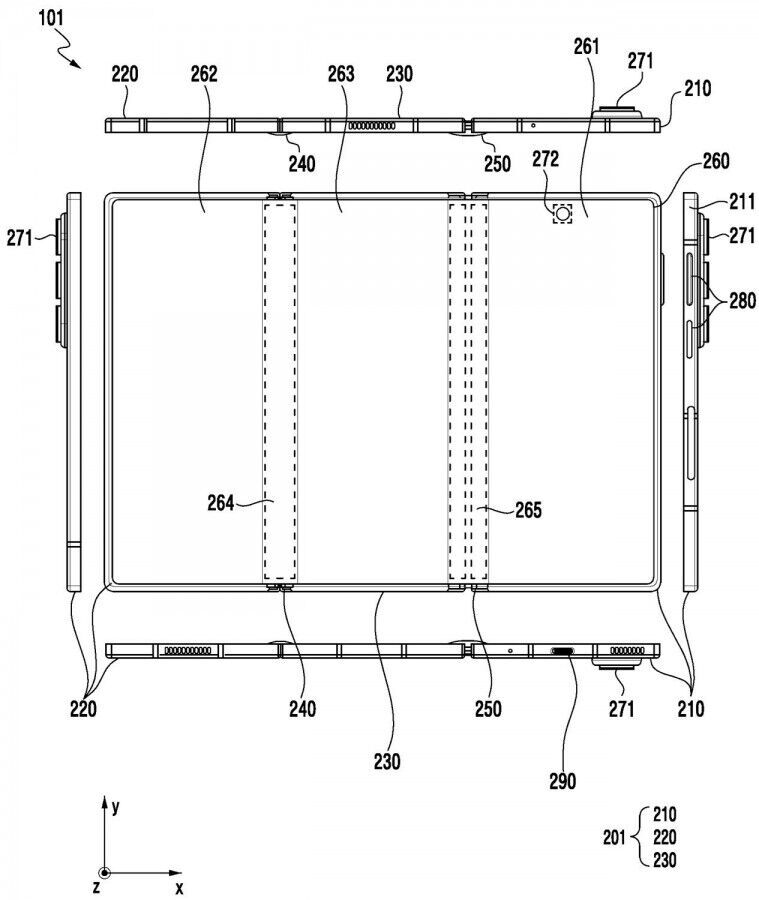
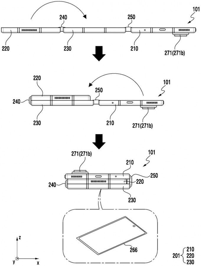
Samsung Galaxy TriFold

certifikace Bluetooth SIG

Přiblížit obrázek Oddálit obrázek
Samsung Galaxy TriFold
Samsung Galaxy TriFold
Samsung Galaxy TriFold
Samsung Galaxy TriFold
Samsung Galaxy TriFold
Samsung Galaxy TriFold
Samsung Galaxy TriFold
Samsung Galaxy TriFold
Samsung Galaxy TriFold
Samsung Galaxy G Fold