Essential Phone měl a stále má mnoho nedostatků, ale jedno mu upřít nelze. Konstrukce a design je zkrátka špičkový a i když sklidil se svým displejem veškerou pozornost iPhone X, právě Essential je prvním telefonem s výřezem v něm. Výřez displeje (anglicky notch) se stal ostatně velkým trendem letošního veletrhu MWC, kde s ním měl telefon nejeden výrobce. Essential se však na rozdíl od nich svým „notchem“ chlubit nechce, jelikož se jej hodlá podle všeho rychle zbavit.
Yes Rafael, I saw it. Check this: https://t.co/v5DuJxP0qI https://t.co/HvbWEmwjYm
— Andy Rubin (@Arubin) 3. března 2018
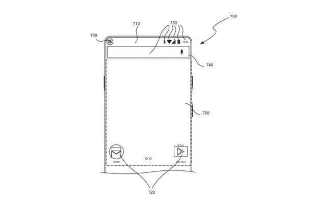
Sám zakladatel Andy Rubin totiž na Twitteru odhalil patent své společnosti z roku 2017, který ukazuje zcela bezrámečkový telefon s vystřelovací přední kamerkou, která se zasunuje do rámu zařízení. Podobné řešení jsme viděli už před pár dny u telefonu Vivo APEX. Jeden fanoušek se právě na tento telefon Andyho Rubina ptal, jelikož byl zvědavý, zda jej viděl a co na něj říká. Andy odpověděl jednoduše, že telefon viděl a přidal odkaz na svůj patent na stránkách Googlu.
Patent byl podán již v květnu roku 2016, ale až loni v srpnu byl schválen. V současnosti je přitom podána již další upravená verze, která začleňuje i koncept, ve kterém je přední kamera umístěna v levém horním rohu displeje telefonu a má fungovat zároveň jako permanentní ikona fotoaparátu. Samotný patent ještě sice neznamená, že se podobných řešení skutečně dočkáme, ale vzhledem k povaze Andyho Rubina a jeho ochotě se s ním otevřeně chlubit, bychom se nedivili, kdybychom se s takovým telefonem setkali již brzy.
Zdroj: twitter.com, androidpolice.com

Akorát jestli mají schválený patent, jak si s tím asi poradí Vivo? Hádám, že po vzoru ostatních číňánků prostě budou patent ignorovat?
Co takhle pro nás nenarcisy udělat telefon bez selfie kamery a je vyřešeno? Nikdy jsem ji nepoužil.