Už od příchodu prvních chytrých hodinek si jejich výrobci pohrávají s myšlenkou, že by jednou tato elektronika mohla nahradit mobilní telefony. Ne vždy a všude, ale při některých příležitostech – například při sportu – to dává smysl. U Googlu tuto myšlenku představuje přechod na Android Wear 2.0 (nyní Wear OS), Apple udělal podobný krok společně s příchodem watchOS 6.
Jenomže funkční software je jen jeden dílek skládačky, tím druhým je hardware. I když hodinky vypadají jako zmenšený smartphone, kde nechybí displej, mikrofon nebo reproduktor, stále postrádají důležitou součást – fotoaparát.




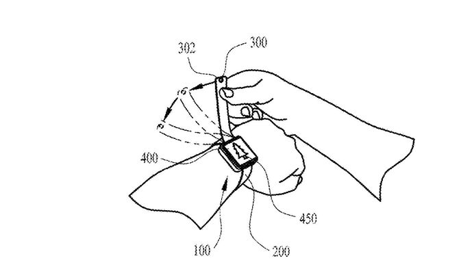
Patent společnosti Apple jej umisťuje do magneticky odnímatelného pásku, který obkružuje ten původní. Uživatel tak bude moci snadno namířit tam, kam bude potřeba, aniž by si při tom vykloubil ruku. Kromě fotografování samozřejmě zvládne i video a videohovory. Není to ostatně první patent, který Apple v této souvislosti podal.
