Projekt ARA představoval nadějnou možnost, že bychom si jednou mohli skládat telefony z předpřipravených dílů. Tato myšlenka však byla nejspíše příliš odvážná na to, aby se prosadila na trhu, a tak je projekt od roku 2016 uložen u ledu. Poslední patent Googlu však napovídá, že samotná myšlenka žije dál, jen v jiné podobě.
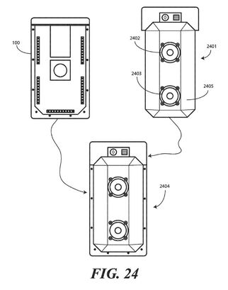
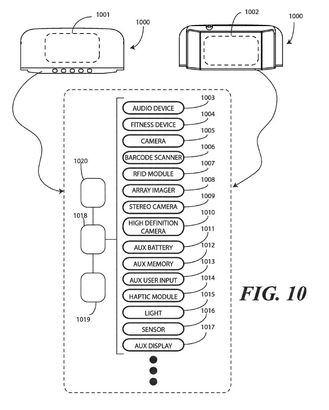
Patent byl podán v září minulého roku a schválen v lednu tohoto roku. Obecný popis nedává moc šancí vyčíst, jak to celé má fungovat, ale lepší představu poskytují obrázky. Zde vidíme, jak se jednotka s displejem rozšiřuje o modul s fotoaparátem. To celé se pak zasune do jakéhosi krytu, který je vybaven sluchátkem a nabíjecím konektorem. Google tak zřejmě sleduje ideu, že byste doma nebo při sportu používali malý a jednoduchý přístroj, na delší cesty byste si z něj pak udělali komplexní zařízení s vyšší výdrží.

















Objevují se dokonce divoké spekulace, že by takto mohl vypadat Pixel 4, ale podle všeho jde jen o nápad, který na svou případnou realizaci bude jenom čekat.
