MagSafe je bezesporu jednou z nejdůležitějších inovací poslední generace iPhonů. Nový druh nabíječky umožňuje nejenom zvýšit výkon nabíjení, ale také se postará o správné srovnání nabíjecích cívek.
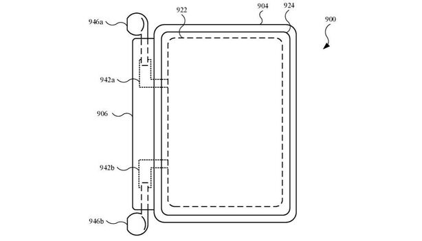
Apple má však s celým systémem mnohem větší plány. Dostane se na nejrůznější příslušenství v podobě pouzder. Patentová přihláška zveřejněná na uspto.gov pak odhaluje obzvláště zajímavý kousek, který by mohl řešit problémy s AirPods. Poslouží totiž nejenom k nabíjení telefonu, ale i samotných sluchátek.
Samozřejmě, velké firmy jako Apple chrlí patenty jako na běžícím páse s tím, že se jich mnoho vůbec nedočká realizace. I tento ukazuje dva návrhy – zatímco jeden má sluchátka na čelní straně, ten druhý v kloubu.
