Počítačovou myš je vhodné vybírat podle velikosti ruky tak, aby tvořila oporu nejenom pro prsty, ale i pro dlaň. Snadno tak můžete předejít nepříjemným zdravotním komplikacím. Problém ovšem nastane u myší pro netbook, které by měly být stejně skladné jako pohodlné.
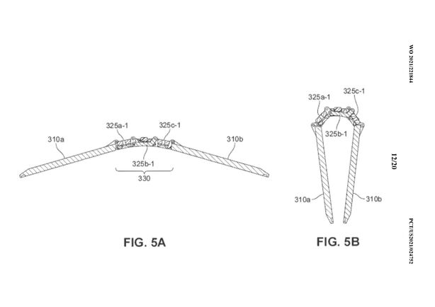
Na stránkách Světového úřadu pro duševní vlastnictví (WIPO) se objevil patent Microsoftu, který by tyto dva protichůdné požadavky mohl skloubit dohromady. Nákresy ukazují plochou desku, která má uprostřed kovový kloub. V zavřeném stavu by se tak myš přenášela, v polouzavřeném by naopak tvořila oblouk, se kterým by se snadno pracovalo a který by taky dobře vypadal.
Patentová přihláška je z konce března 2021 a byla zveřejněna před pár dny. To však ani v nejmenším nenaznačuje, kdy a jestli vůbec se tento zajímavý počin dostane na trh.
