Zatímco každý má jedinečné ucho, respektive tvar zevního zvukovodu, výrobci obvykle přikládají ke špuntovým sluchátkům trojici ochranných čepiček, mezi kterými si musíte vybrat tu správnou velikost.
Tento problém je zvláště citelný v okamžiku, kdy si pořídíte plně bezdrátová sluchátka, která chrání před vypadnutím pouze to, jak pevně sedí ve zvukovodu. A ještě větší problém to bude, až se více rozšíří sluchátka s aktivním potlačením hluku. A i pokud si už nějakou velikost vyberete, určitě máte pocit, že by se jiná hodila pro chvíle odpočinku a jiná pro sport.
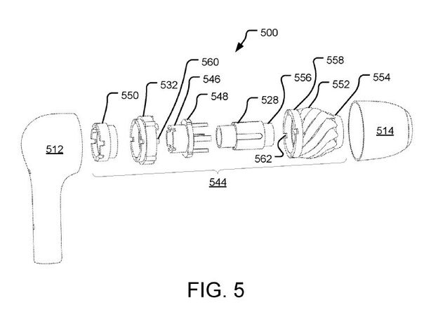
Všechny výše popsané problémy by mohl řešit patent, který Microsoft podal už loni na jaře. Ukazuje mechanismus, který otáčením umožní nastavit průměr koncové části, jež se pak schová pod elastickou čepičku.
Škoda jen, že Microsoft zatím nedotáhl tuto technologii, aby se mohla objevit v jeho nejnovějších Surface Earbuds. Snad se dočkáme v některé z dalších verzí.
