Aktualizováno 20. 2. 2018
Dle nejnovějších informací bychom se Nokie se speciálním fotoaparátem o pěti čočkách měli dočkat, avšak nemá jít o Nokii 10. Aktuálně se spekuluje o označení Nokia 8 Pro. Současně se objevily informace o tom, že pod kapotou má být nasazen procesor Snapdragon 845, což zase naznačuje pozdější uvedení na trh. Chystaná novinka má být také celá skleněná, tedy z čelní i zadní strany.
Původní text z 29. 1. 2018
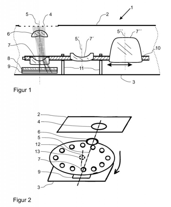
Již nějakou dobu tušíme, že se představí vlajkový model Nokia 9. Poměrně nedávno však zástupce společnosti naznačil, že již na veletrhu MWC 2018 bychom od Nokie mohli očekávat něco úžasného. Co však samozřejmě neprozradil. Jisté vodítko nám poskytuje patent společnosti Carl-Zeiss. V údajné Nokii 10 se má objevit speciální modul fotoaparátu. Kresby naznačují, že celý modul bude orientovaný do kruhu, ve kterém se bude nacházet hned několik pohyblivých čoček s různou ohniskovou vzdáleností, díky čemuž bude moci uživatel měnit potřebné přiblížení.
Aby byl mechanismus dobře chráněn, bude nad vším bdít hlavní fixní čočka, která se vždy propojí s aktuálně zvolenou čočkou v kruhu. Aby čoček přeci jen nebylo málo, bude se „nahoře“ nacházet sekundární kamerka, která bude sloužit pro bokeh efekt a přeostřování. Podobu zadní strany pak naznačuje její únik, kde je údajná Nokia 10 po boku Nokie 9 s běžným duálním fotoaparátem.
Jak naznačuje číslo, Nokia 10 bude nejvýše postaveným telefon společnosti. V prvé řadě má být prvním modelem výrobce s protáhlým displejem 18:9 a překvapit má nasazení procesoru Snapdragon 845. Díky tomu je jasné, že s finálním produktem se za měsíc v Barceloně nesetkáme. Pravděpodobněji se jeví představení na berlínském veletrhu IFA 2018.
