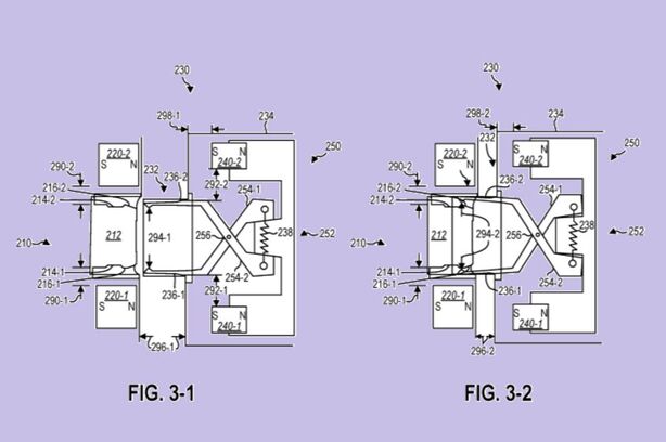
Praktické magnetické konektory, které jsou známé především ze starších MacBooků od Applu, si právem získaly přízeň mnoha uživatelů. Nyní jejich nasazení zvažuje i Microsoft, který si s myšlenkou na využití magnetického přichycení pohrává u USB-C konektoru nových Surfaců. Oboustranný (nemagnetický) USB-C konektor jsme již mohli vidět u cenově dostupného Surfacu Go a Surface Studia, avšak v budoucnu by se měl objevit i na dalších zařízeních z řady Surface. Patentovou žádost Microsoft podal již v květnu pod číslem US20180375251.
Žádost obsahuje nákres USB-C kabelu a konektoru, který je osazen magnety, které zaberou už z (relativně) větší vzdálenosti. Zároveň by tak bylo možné konektor odpojit pouhým zatáhnutím za kabel, aniž by hrozilo poškození konektoru. Samotný patent bohužel ještě neznamená, že magnetické přichycení Microsoft využije. Pokud však ano, bude to vítané zlepšení.

Ale má pravdu, díval jsem se kolem na tablety s Win a je jich dost a člověk si určitě vybere,možná bude muset slevit se svých požadavků, říkám možná, ale dá se takové zařízení pořídit. ¨
Takže nehledejte důvody proč NÉ a snažte se prostě svoje zařízení najít.
Co mám říkat já???????
Čekám, vlastně už ani nečekám, ale mám přání, kdy už někdo vyrobí pořádný telefon na focení a budu moct nahradit svou L1020. To co má L1020 nad ostatními je xenonový blesk, spoušť fotoaparátu a displej do 5palců. Tady vážně náhrada není.
Děkuji.