Móda ohebných displejů asi jen tak neskončí, protože do rozjetého vlaku naskakují další a další firmy. Když nemají finální výrobek, tak alespoň ukáží funkční prototyp, anebo aspoň nějaký patent. LG se prozatím vydává poslední cestou nejmenšího odporu. Je zde ale jedna věc, kterou se snaží odlišit.





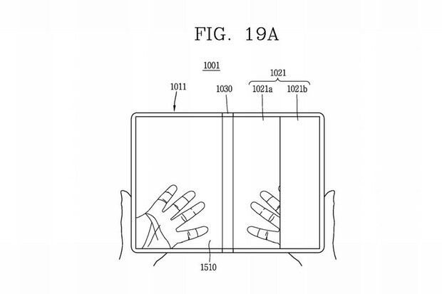
Jak si můžete povšimnout na okolních obrázcích, obligátní zahnutí nikoho nepřekvapí, ale průhlednost ano. Je to jeden z aspektů, který lze často vidět ve vědeckofantastických filmech a při takovém lovu pokémonů a jiných hrátkách s rozšířenou realitou by to jistě našlo využití. I když je podaný patent poměrně obsáhlý i co se způsobů ovládání týče, byl podán už v roce 2015. Vypadá to tedy na jeden z těch „nápadů do šuplíku“, které se vytáhnou až v případě, že na to dozraje technologie.
